泸州茂源陶瓷制作有限公司
电话:0830-8392818
手机:15881414888
13398260233
18281173899
邮箱:475372845@qq.com
传真:0830-8392818
网址:www.0830mytc.com
地址:泸州市泸县牛滩镇横江村1组
500号
泸州茂源陶瓷制作有限公司欢迎您!
泸州茂源陶瓷制作有限公司
电话:0830-8392818
手机:15881414888
13398260233
18281173899
邮箱:475372845@qq.com
传真:0830-8392818
网址:www.0830mytc.com
地址:泸州市泸县牛滩镇横江村1组
500号
本实用新型公开了一种小型电窑炉,包括炉体,所述炉体内部的前端设有排风机构和抽风机构,且抽风机构位于排风机构的正上方,所述炉体的内底壁固定连接有送料机构,所述炉体的内顶壁通过安装架固定安装有加热棒,所述炉体上表面的中部固定连接有加热器,且加热器与加热棒电性连接,通过设置的排风机构和抽风机构对热空气进行消除,当电窑炉内部的陶瓷烧制完成后,打开炉门取出陶瓷时,使排风机构工作,对电窑炉内部喷出的热空气进行吹动和冷却,能够降低热空气的温度,使抽风机构工作,配合排风机构能够将喷出的热空气吹向电窑炉的上方,防止电窑炉内部的热空气喷出对外界的工作人员造成灼伤,从而能够提高工作人员的人身安全。

1.一种小型电窑炉,包括炉体(1),其特征在于:所述炉体(1)内部的前端设有排风机构(2)和抽风机构(3),且抽风机构(3)位于排风机构(2)的正上方,所述炉体(1)的内底壁固定连接有送料机构(4),所述炉体(1)的内顶壁通过安装架固定安装有加热棒(6),所述炉体(1)上表面的中部固定连接有加热器(5),且加热器(5)与加热棒(6)电性连接。
2.根据权利要求1所述的一种小型电窑炉,其特征在于:所述排风机构(2)包括排风槽(201),且排风槽(201)开设在炉体(1)内底壁靠近前端的位置,所述炉体(1)右侧壁的底部通过固定板固定连接有排风机(202),所述排风机(202)的下表面固定连接有排风管(203),且排风管(203)的左端贯穿炉体(1)的右侧壁并延伸至排风槽(201)的内部,所述排风管(203)的上表面固定连接有排风嘴(204),且排风嘴(204)设有多个。
3.根据权利要求2所述的一种小型电窑炉,其特征在于:所述炉体(1)左侧壁的底部通过支撑板固定连接有冷凝器(205),所述冷凝器(205)的右侧壁固定连接有冷凝管(206),且冷凝管(206)的右端贯穿炉体(1)的左侧壁并延伸至排风槽(201)的内部,所述冷凝管(206)位于排风管(203)的正上方。
4.根据权利要求2所述的一种小型电窑炉,其特征在于:所述抽风机构(3)包括抽风槽(302),且抽风槽(302)开设在炉体(1)内顶壁靠近前端的位置,所述抽风槽(302)的内顶壁固定连接有抽风管(303),所述抽风管(303)的下表面固定连接有抽风嘴(304),所述炉体(1)上表面的前端固定连接有抽风机(301),且抽风机(301)的底部通过连通管与抽风管(303)相连通,所述抽风槽(302)内的底部和排风槽(201)内的顶部均固定连接有过滤网(305)。
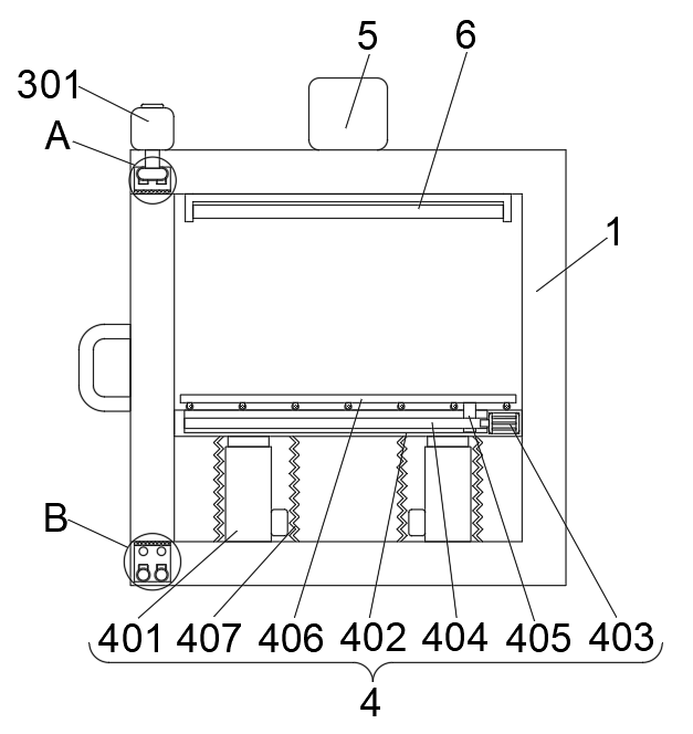
5.根据权利要求1所述的一种小型电窑炉,其特征在于:所述送料机构(4)包括电动伸缩杆(401),且电动伸缩杆(401)设有两个均与炉体(1)的内底壁固定连接,两个所述电动伸缩杆(401)的上端固定连接有安装板(402),两个所述电动伸缩杆(401)的外侧均套设有伸缩隔热套(407),且两个伸缩隔热套(407)的上端和下端分别与安装板(402)的下表面和炉体(1)的内底壁固定连接。
6.根据权利要求5所述的一种小型电窑炉,其特征在于:所述安装板(402)内部的后端固定连接有伺服电机(403),所述伺服电机(403)的输出端通过联轴器传动连接有螺纹丝杆(404),所述螺纹丝杆(404)的外表面活动连接有移动块(405),所述移动块(405)的顶部固定连接有放料板(406),所述放料板(406)的下表面固定连接有固定架,且固定架的内部转动连接有滚轮。
7.根据权利要求1所述的一种小型电窑炉,其特征在于:所述炉体(1)的正表面转动连接有炉门,且炉门的正表面固定连接有把手,所述排风机构(2)和抽风机构(3)分别位于炉门的正下方和正上方。
一种小型电窑炉
技术领域
本实用新型属于陶瓷加工设备技术领域,具体涉及一种小型电窑炉。
背景技术
窑炉是指用于烧制陶瓷器物和雕塑或是令珐琅熔合到金属器物表面的火炉,一般用砖和石头砌成,根据需要可以制成大小各种的规格,能采用可燃气体、油或电来运转,电窑比使用可燃气体和油的窑更容易控制温度,但是一些陶工和雕塑家认为电窑的温度上升太快。
目前市面上的电窑炉在使用时,当电窑炉内部的陶瓷烧制完成后打开电窑炉时,电窑炉内部的热空气喷涌而出,易对外界的工作人员造成灼伤,从而对工作人员的人身安全造成影响,且电窑炉内部的温度较高,不便于工作人员将烧制完成的陶瓷取出,为此我们提出一种小型电窑炉。
实用新型内容
本实用新型的目的在于提供一种小型电窑炉,以解决上述背景技术中提出的问题。
为实现上述目的,本实用新型提供如下技术方案:一种小型电窑炉,包括炉体,所述炉体内部的前端设有排风机构和抽风机构,且抽风机构位于排风机构的正上方,所述炉体的内底壁固定连接有送料机构,所述炉体的内顶壁通过安装架固定安装有加热棒,所述炉体上表面的中部固定连接有加热器,且加热器与加热棒电性连接。
优选的,所述排风机构包括排风槽,且排风槽开设在炉体内底壁靠近前端的位置,所述炉体右侧壁的底部通过固定板固定连接有排风机,所述排风机的下表面固定连接有排风管,且排风管的左端贯穿炉体的右侧壁并延伸至排风槽的内部,所述排风管的上表面固定连接有排风嘴,且排风嘴设有多个。
优选的,所述炉体左侧壁的底部通过支撑板固定连接有冷凝器,所述冷凝器的右侧壁固定连接有冷凝管,且冷凝管的右端贯穿炉体的左侧壁并延伸至排风槽的内部,所述冷凝管位于排风管的正上方。
优选的,所述抽风机构包括抽风槽,且抽风槽开设在炉体内顶壁靠近前端的位置,所述抽风槽的内顶壁固定连接有抽风管,所述抽风管的下表面固定连接有抽风嘴,所述炉体上表面的前端固定连接有抽风机,且抽风机的底部通过连通管与抽风管相连通,所述抽风槽内的底部和排风槽内的顶部均固定连接有过滤网。
优选的,所述送料机构包括电动伸缩杆,且电动伸缩杆设有两个均与炉体的内底壁固定连接,两个所述电动伸缩杆的上端固定连接有安装板,两个所述电动伸缩杆的外侧均套设有伸缩隔热套,且两个伸缩隔热套的上端和下端分别与安装板的下表面和炉体的内底壁固定连接。
优选的,所述安装板内部的后端固定连接有伺服电机,所述伺服电机的输出端通过联轴器传动连接有螺纹丝杆,所述螺纹丝杆的外表面活动连接有移动块,所述移动块的顶部固定连接有放料板,所述放料板的下表面固定连接有固定架,且固定架的内部转动连接有滚轮。
优选的,所述炉体的正表面转动连接有炉门,且炉门的正表面固定连接有把手,所述排风机构和抽风机构分别位于炉门的正下方和正上方。
与现有技术相比,本实用新型的有益效果是:
(1)、该小型电窑炉,通过设置的排风机构和抽风机构对热空气进行消除,当电窑炉内部的陶瓷烧制完成后,打开炉门取出陶瓷时,使排风机构工作,对电窑炉内部喷出的热空气进行吹动和冷却,能够降低热空气的温度,使抽风机构工作,配合排风机构能够将喷出的热空气吹向电窑炉的上方,防止电窑炉内部的热空气喷出对外界的工作人员造成灼伤,从而能够提高工作人员的人身安全。
(2)、该小型电窑炉,通过设置在炉体内部的送料机构对陶瓷进行放置,将陶瓷放置在送料机构上,使加热器工作通过加热棒对陶瓷进行加热,使送料机构工作带动陶瓷向着靠近加热棒的方向进行移动,能够缩短陶瓷与加热棒之间的距离,从而能够提高加热棒热量的利用率,当陶瓷烧制完成后,使伺服电机工作,通过螺纹丝杆带动移动块和放料板进行移动,能够将陶瓷从炉体的内部移动,从而便于取出烧制完成的陶瓷。
附图说明
图1为本实用新型立体图;

图2为本实用新型的正剖视图;

图3为本实用新型的侧剖视图;

图4为本实用新型的图3中a处的结构放大图;

图5为本实用新型的图3中b处的结构放大图。

图中:1、炉体;2、排风机构;201、排风槽;202、排风机;203、排风管;204、排风嘴;205、冷凝器;206、冷凝管;3、抽风机构;301、抽风机;302、抽风槽;303、抽风管;304、抽风嘴;305、过滤网;4、送料机构;401、电动伸缩杆;402、安装板;403、伺服电机;404、螺纹丝杆;405、移动块;406、放料板;407、伸缩隔热套;5、加热器;6、加热棒。
具体实施方式
下面将结合本实用新型实施例中的附图,对本实用新型实施例中的技术方案进行清楚、完整地描述,显然,所描述的实施例仅仅是本实用新型一部分实施例,而不是全部的实施例。基于本实用新型中的实施例,本领域普通技术人员在没有做出创造性劳动前提下所获得的所有其他实施例,都属于本实用新型保护的范围。
请参阅图1-图5,本实用新型提供一种小型电窑炉,包括炉体1,炉体1内部的前端设有排风机构2和抽风机构3,且抽风机构3位于排风机构2的正上方,炉体1的内底壁固定连接有送料机构4,炉体1的内顶壁通过安装架固定安装有加热棒6,炉体1上表面的中部固定连接有加热器5,且加热器5与加热棒6电性连接。
本实施例中,优选的,排风机构2包括排风槽201,且排风槽201开设在炉体1内底壁靠近前端的位置,炉体1右侧壁的底部通过固定板固定连接有排风机202,排风机202的下表面固定连接有排风管203,且排风管203的左端贯穿炉体1的右侧壁并延伸至排风槽201的内部,排风管203的上表面固定连接有排风嘴204,且排风嘴204设有多个,使排风机202工作,通过排风管203和排风嘴204吹出风,能够在炉体1开口处形成一道风墙,从而能够对炉体1内部喷出的热空气进行阻挡。
本实施例中,优选的,炉体1左侧壁的底部通过支撑板固定连接有冷凝器205,冷凝器205的右侧壁固定连接有冷凝管206,且冷凝管206的右端贯穿炉体1的左侧壁并延伸至排风槽201的内部,冷凝管206位于排风管203的正上方,使冷凝器205工作,通过冷凝管206能够对排风机202吹出的风进行冷却,从而能够对炉体1内喷出的热空气进行冷却。
本实施例中,优选的,抽风机构3包括抽风槽302,且抽风槽302开设在炉体1内顶壁靠近前端的位置,抽风槽302的内顶壁固定连接有抽风管303,抽风管303的下表面固定连接有抽风嘴304,炉体1上表面的前端固定连接有抽风机301,且抽风机301的底部通过连通管与抽风管303相连通,抽风槽302内的底部和排风槽201内的顶部均固定连接有过滤网305,使抽风机301工作,通过抽风管303和抽风嘴304进行抽风,配合排风机构2能够对炉体1内部喷出的热空气抽向炉体1的上方,防止热空气对工作人员造成影响。
本实施例中,优选的,送料机构4包括电动伸缩杆401,且电动伸缩杆401设有两个均与炉体1的内底壁固定连接,两个电动伸缩杆401的上端固定连接有安装板402,两个电动伸缩杆401的外侧均套设有伸缩隔热套407,且两个伸缩隔热套407的上端和下端分别与安装板402的下表面和炉体1的内底壁固定连接,使电动伸缩杆401工作,能够带动安装板402进行移动,从而能够缩短陶瓷与加热棒6之间的距离,提高加热棒6的热量利用率,通过伸缩隔热套407对电动伸缩杆401进行保护。
本实施例中,优选的,安装板402内部的后端固定连接有伺服电机403,伺服电机403的输出端通过联轴器传动连接有螺纹丝杆404,螺纹丝杆404的外表面活动连接有移动块405,移动块405的顶部固定连接有放料板406,放料板406的下表面固定连接有固定架,且固定架的内部转动连接有滚轮,使伺服电机403工作,通过螺纹丝杆404和移动块405能够带动放料板406进行移动,从而能够将陶瓷移出炉体1,便于工作人员取出陶瓷。
本实施例中,优选的,炉体1的正表面转动连接有炉门,且炉门的正表面固定连接有把手,排风机构2和抽风机构3分别位于炉门的正下方和正上方,通过设置的炉门对炉体1进行密封,能够防止炉体1内部的高温逸散,且通过炉门能够对排风机构2和抽风机构3进行保护。
本实用新型的工作原理及使用流程:该装置使用时,将陶瓷放置在放料板406上表面,关闭炉门,使加热器5工作通过加热棒6对陶瓷进行加热,使电动伸缩杆401工作,能够带动安装板402进行移动,从而能够缩短陶瓷与加热棒6之间的距离,提高加热棒6的热量利用率,当陶瓷烧制完成后,停止加热器5和加热棒6的工作,打开炉门,使排风机202工作,通过排风管203和排风嘴204吹出风,能够在炉体1开口处形成一道风墙,从而能够对炉体1内部喷出的热空气进行阻挡,使冷凝器205工作,通过冷凝管206能够对排风机202吹出的风进行冷却,从而能够对炉体1内喷出的热空气进行冷却,使抽风机301工作,通过抽风管303和抽风嘴304进行抽风,配合排风机构2能够对炉体1内部喷出的热空气抽向炉体1的上方,防止热空气对工作人员造成影响,使伺服电机403工作,通过螺纹丝杆404和移动块405能够带动放料板406进行移动,从而能够将陶瓷移出炉体1,便于工作人员取出陶瓷,通过排风机构2、抽风机构3和送料机构4的设置,能够提高电窑炉使用的安全性和高效性。
尽管已经示出和描述了本实用新型的实施例,对于本领域的普通技术人员而言,可以理解在不脱离本实用新型的原理和精神的情况下可以对这些实施例进行多种变化、修改、替换和变型,本实用新型的范围由所附权利要求及其等同物限定。

