泸州茂源陶瓷制作有限公司
电话:0830-8392818
手机:15881414888
13398260233
18281173899
邮箱:475372845@qq.com
传真:0830-8392818
网址:www.0830mytc.com
地址:泸州市泸县牛滩镇横江村1组
500号
泸州茂源陶瓷制作有限公司欢迎您!
泸州茂源陶瓷制作有限公司
电话:0830-8392818
手机:15881414888
13398260233
18281173899
邮箱:475372845@qq.com
传真:0830-8392818
网址:www.0830mytc.com
地址:泸州市泸县牛滩镇横江村1组
500号
本实用新型公开了一种新型石膏搅拌机,包括安装架,所述安装架的内侧壁之间转动连接有主轴,所述主轴的右端贯穿安装架侧壁并连接有驱动机构,所述主轴的外侧套设有滚筒,所述滚筒的内部设有翻搅机构,所述主轴的内部设有加热机构,通过设置翻搅机构,能够在主轴转动时,通过联动杆带动滚筒同步转动,混料腔底部的石膏浆料粘附在滚筒的内侧壁上被运送至混料腔的顶部,再因重力影响掉落至混料腔底部,在此过程中搅拌叶片对石膏浆料进行纵向分割,在弹簧的作用下,抵柱上的滚珠始终与偏折环的右侧壁接触,进而使滚筒在主轴外侧进行左右往复运动,使搅拌叶片对混料腔内部的石膏浆料进行横向分割,提高了对石膏浆料的搅拌效率。

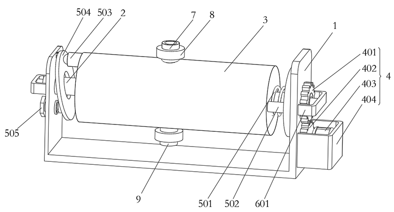
1.一种新型石膏搅拌机,包括安装架(1),其特征在于:所述安装架(1)的内侧壁之间转动连接有主轴(2),所述主轴(2)的右端贯穿安装架(1)侧壁并连接有驱动机构(4),所述主轴(2)的外侧套设有滚筒(3),所述滚筒(3)的内部设有翻搅机构(5),所述主轴(2)的内部设有加热机构(6)。
2.根据权利要求1所述的一种新型石膏搅拌机,其特征在于:所述驱动机构(4)包括电机支架(404),所述电机支架(404)固定安装在安装架(1)右侧壁靠近底部的位置,所述电机支架(404)的内侧壁固定安装有步进电机(403),所述步进电机(403)电机轴的左端固定连接有主动齿轮(402),所述主轴(2)外侧壁靠近右端的位置固定连接有从动齿轮(401),所述从动齿轮(401)与主动齿轮(402)相啮合。
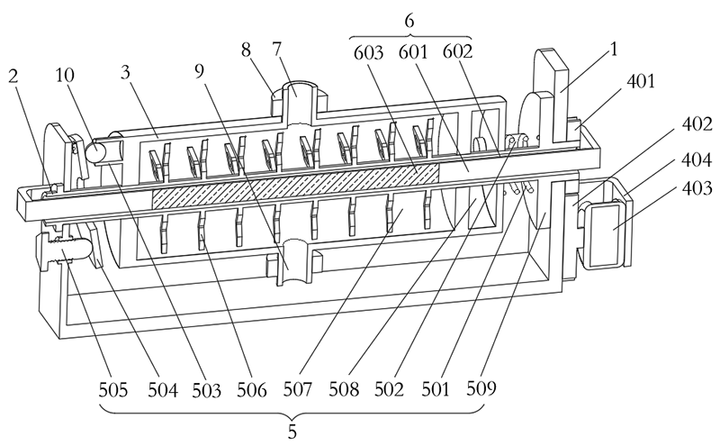
3.根据权利要求1所述的一种新型石膏搅拌机,其特征在于:所述翻搅机构(5)包括安装圆盘(509),所述安装圆盘(509)固定安装在主轴(2)外侧壁靠近右端的位置,所述安装圆盘(509)的外侧壁前后对称固定连接有联动杆(502),所述滚筒(3)的内侧壁靠近右端的位置固定连接有隔板,且隔板右侧壁与滚筒(3)内侧壁之间设为移置腔(508),两个所述联动杆(502)的左端均贯穿滚筒(3)侧壁并延伸至移置腔(508)的内部,所述主轴(2)的外侧套设有弹簧(501),所述弹簧(501)的两端分别与安装圆盘(509)和滚筒(3)固定连接。
4.根据权利要求1所述的一种新型石膏搅拌机,其特征在于:所述翻搅机构(5)还包括偏折环(504),所述偏折环(504)的上端与安装架(1)内侧壁靠近顶部的位置铰接,且偏折环(504)套设在主轴(2)的外侧,所述滚筒(3)左侧壁靠近顶部的位置固定连接有抵柱(503),所述滚筒(3)内侧壁与隔板左侧壁之间设为混料腔(507),所述混料腔(507)内部设有搅拌叶片(506),所述搅拌叶片(506)固定安装在主轴(2)的外侧壁上。
5.根据权利要求4所述的一种新型石膏搅拌机,其特征在于:所述加热机构(6)包括通槽(602),所述通槽(602)开设在主轴(2)的中心位置,所述通槽(602)的内部设有电加热管(603),所述混料腔(507)套设在电加热管(603)的外侧,所述电加热管(603)的外侧壁左右对称固定连接有定位架(601),两个所述定位架(601)远离电加热管(603)的一端均与安装架(1)的外侧壁固定连接。
6.根据权利要求4所述的一种新型石膏搅拌机,其特征在于:所述滚筒(3)的上表面和下表面分别固定连接有进料管(7)和出料管(9),所述进料管(7)和出料管(9)靠近主轴(2)的一端均贯穿滚筒(3)侧壁并延伸至混料腔(507)的内部,所述进料管(7)之间和出料管(9)之间均串联安装有电磁阀(8)。
7.根据权利要求4所述的一种新型石膏搅拌机,其特征在于:所述安装架(1)的左侧壁固定连接有螺纹套,且螺纹套的内部设有调节螺栓(505),所述调节螺栓(505)的右端与偏折环(504)的左侧壁接触,所述抵柱(503)的左端设有滚珠(10),所述滚珠(10)与偏折环(504)的右侧壁接触。
一种新型石膏搅拌机
技术领域
本实用新型属于石膏浆料搅拌技术领域,具体涉及一种新型石膏搅拌机。
背景技术
石膏生产线上,石膏浆料搅拌机是很重要的一个设备,石膏浆料搅拌的品质直接影响后期的石膏板生产各个流程,以及石膏板的质量。
现有的石膏搅拌机仅能通过搅拌轴转动对石膏浆料进行单一方向的搅拌,无法在垂直于搅拌轴转动平面的方向上对石膏浆料进行搅拌,导致对石膏浆料的搅拌效率较低,同时现有的石膏搅拌机缺少加热机构,在冬季气温较低的环境下,石膏浆料会发生冻结,难以对石膏浆料进行搅拌,为此我们提出一种新型石膏搅拌机。
实用新型内容
本实用新型的目的在于提供一种新型石膏搅拌机,以解决上述背景技术中提出的问题。
为实现上述目的,本实用新型提供如下技术方案:一种新型石膏搅拌机,包括安装架,所述安装架的内侧壁之间转动连接有主轴,所述主轴的右端贯穿安装架侧壁并连接有驱动机构,所述主轴的外侧套设有滚筒,所述滚筒的内部设有翻搅机构,所述主轴的内部设有加热机构。
优选的,所述驱动机构包括电机支架,所述电机支架固定安装在安装架右侧壁靠近底部的位置,所述电机支架的内侧壁固定安装有步进电机,所述步进电机电机轴的左端固定连接有主动齿轮,所述主轴外侧壁靠近右端的位置固定连接有从动齿轮,所述从动齿轮与主动齿轮相啮合。
优选的,所述翻搅机构包括安装圆盘,所述安装圆盘固定安装在主轴外侧壁靠近右端的位置,所述安装圆盘的外侧壁前后对称固定连接有联动杆,所述滚筒的内侧壁靠近右端的位置固定连接有隔板,且隔板右侧壁与滚筒内侧壁之间设为移置腔,两个所述联动杆的左端均贯穿滚筒侧壁并延伸至移置腔的内部,所述主轴的外侧套设有弹簧,所述弹簧的两端分别与安装圆盘和滚筒固定连接。
优选的,所述翻搅机构还包括偏折环,所述偏折环的上端与安装架内侧壁靠近顶部的位置铰接,且偏折环套设在主轴的外侧,所述滚筒左侧壁靠近顶部的位置固定连接有抵柱,所述滚筒内侧壁与隔板左侧壁之间设为混料腔,所述混料腔内部设有搅拌叶片,所述搅拌叶片固定安装在主轴的外侧壁上。
优选的,所述加热机构包括通槽,所述通槽开设在主轴的中心位置,所述通槽的内部设有电加热管,所述混料腔套设在电加热管的外侧,所述电加热管的外侧壁左右对称固定连接有定位架,两个所述定位架远离电加热管的一端均与安装架的外侧壁固定连接。
优选的,所述滚筒的上表面和下表面分别固定连接有进料管和出料管,所述进料管和出料管靠近主轴的一端均贯穿滚筒侧壁并延伸至混料腔的内部,所述进料管之间和出料管之间均串联安装有电磁阀。
优选的,所述安装架的左侧壁固定连接有螺纹套,且螺纹套的内部设有调节螺栓,所述调节螺栓的右端与偏折环的左侧壁接触,所述抵柱的左端设有滚珠,所述滚珠与偏折环的右侧壁接触。
与现有技术相比,本实用新型的有益效果是:
(1)、该新型石膏搅拌机,通过设置翻搅机构,能够在主轴转动时,通过联动杆带动滚筒同步转动,混料腔底部的石膏浆料粘附在滚筒的内侧壁上被运送至混料腔的顶部,再因重力影响掉落至混料腔底部,在此过程中搅拌叶片对石膏浆料进行纵向分割,在弹簧的作用下,抵柱上的滚珠始终与偏折环的右侧壁接触,进而使滚筒在主轴外侧进行左右往复运动,使搅拌叶片对混料腔内部的石膏浆料进行横向分割,提高了对石膏浆料的搅拌效率。
(2)、该新型石膏搅拌机,通过设置加热机构,能够在寒冷天气下,启动电加热管,电加热管对主轴进行加热升温,使混料腔内部的石膏浆料在搅拌过程中均匀受热,防止石膏浆料发生冻结,从而提高搅拌效率。
附图说明
图1为本实用新型的立体结构示意图;

图2为本实用新型的正剖立体图;

图3为本实用新型的俯视图;

图4为本实用新型的侧剖视图。

图中:1、安装架;2、主轴;3、滚筒;4、驱动机构;401、从动齿轮;402、主动齿轮;403、步进电机;404、电机支架;5、翻搅机构;501、弹簧;502、联动杆;503、抵柱;504、偏折环;505、调节螺栓;506、搅拌叶片;507、混料腔;508、移置腔;509、安装圆盘;6、加热机构;601、定位架;602、通槽;603、电加热管;7、进料管;8、电磁阀;9、出料管;10、滚珠。
具体实施方式
下面将结合本实用新型实施例中的附图,对本实用新型实施例中的技术方案进行清楚、完整地描述,显然,所描述的实施例仅仅是本实用新型一部分实施例,而不是全部的实施例。基于本实用新型中的实施例,本领域普通技术人员在没有做出创造性劳动前提下所获得的所有其他实施例,都属于本实用新型保护的范围。
请参阅图1-图4,本实用新型提供一种新型石膏搅拌机,包括安装架1,安装架1的内侧壁之间转动连接有主轴2,主轴2的右端贯穿安装架1侧壁并连接有驱动机构4,主轴2的外侧套设有滚筒3,滚筒3的内部设有翻搅机构5,主轴2的内部设有加热机构6。
本实施例中,优选的,驱动机构4包括电机支架404,电机支架404固定安装在安装架1右侧壁靠近底部的位置,电机支架404的内侧壁固定安装有步进电机403,步进电机403电机轴的左端固定连接有主动齿轮402,主轴2外侧壁靠近右端的位置固定连接有从动齿轮401,从动齿轮401与主动齿轮402相啮合,通过设置驱动机构4,能够在步进电机403启动后,电机轴带动主动齿轮402转动,通过主动齿轮402与从动齿轮401的啮合传动带动主轴2转动。
本实施例中,优选的,翻搅机构5包括安装圆盘509,安装圆盘509固定安装在主轴2外侧壁靠近右端的位置,安装圆盘509的外侧壁前后对称固定连接有联动杆502,滚筒3的内侧壁靠近右端的位置固定连接有隔板,且隔板右侧壁与滚筒3内侧壁之间设为移置腔508,两个联动杆502的左端均贯穿滚筒3侧壁并延伸至移置腔508的内部,主轴2的外侧套设有弹簧501,弹簧501的两端分别与安装圆盘509和滚筒3固定连接,通过设置翻搅机构5,能够在主轴2转动时,带动安装圆盘509转动,通过联动杆502带动滚筒3同步转动,混料腔507底部的石膏浆料粘附在滚筒3的内侧壁上被运送至混料腔507的顶部,再因重力影响掉落至混料腔507底部,在此过程中搅拌叶片506对石膏浆料进行纵向分割,提高搅拌效率,当滚筒3上的抵柱503向靠近偏折环504下端的位置转动时,弹簧501收缩,联动杆502在移置腔508内部的长度伸长,当滚筒3上的抵柱503向靠近偏折环504上端的位置转动时,弹簧501回弹,将滚筒3向左挤压,联动杆502在移置腔508内部的长度缩短,进而使滚筒3在主轴2外侧进行左右往复运动。
本实施例中,优选的,翻搅机构5还包括偏折环504,偏折环504的上端与安装架1内侧壁靠近顶部的位置铰接,且偏折环504套设在主轴2的外侧,滚筒3左侧壁靠近顶部的位置固定连接有抵柱503,滚筒3内侧壁与隔板左侧壁之间设为混料腔507,混料腔507内部设有搅拌叶片506,搅拌叶片506固定安装在主轴2的外侧壁上,通过设置偏折环504,能够在滚筒3转动时,在弹簧501的作用下,抵柱503上的滚珠10始终与偏折环504的右侧壁接触,进而使滚筒3在主轴2外侧进行左右往复运动,使搅拌叶片506对混料腔507内部的石膏浆料进行横向分割,进而提高搅拌效率。
本实施例中,优选的,加热机构6包括通槽602,通槽602开设在主轴2的中心位置,通槽602的内部设有电加热管603,混料腔507套设在电加热管603的外侧,电加热管603的外侧壁左右对称固定连接有定位架601,两个定位架601远离电加热管603的一端均与安装架1的外侧壁固定连接,通过设置加热机构6,能够在寒冷天气下,启动电加热管603,电加热管603对主轴2进行加热升温,使混料腔507内部的石膏浆料在搅拌过程中均匀受热,防止石膏浆料发生冻结,从而提高搅拌效率。
本实施例中,优选的,滚筒3的上表面和下表面分别固定连接有进料管7和出料管9,进料管7和出料管9靠近主轴2的一端均贯穿滚筒3侧壁并延伸至混料腔507的内部,进料管7之间和出料管9之间均串联安装有电磁阀8,通过设置进料管7,能够在开启电磁阀8后,向混料腔507内部注入石膏浆料,通过设置出料管9,能够在开启电磁阀8后,将搅拌均匀的石膏浆料从混料腔507内部排出。
本实施例中,优选的,安装架1的左侧壁固定连接有螺纹套,且螺纹套的内部设有调节螺栓505,调节螺栓505的右端与偏折环504的左侧壁接触,抵柱503的左端设有滚珠10,滚珠10与偏折环504的右侧壁接触,通过设置调节螺栓505,能够通过拧动调节螺栓505,调整调节螺栓505位于安装架1内部的长度,调节螺栓505将偏折环504的下端向右推动,进而调整偏折环504与安装架1内侧壁之间的夹角,改变搅拌叶片506在滚筒3内部左右搅拌的幅度,适用不同的搅拌需求,通过设置滚珠10,能够减小抵柱503与偏折环504之间的摩擦,延缓抵柱503的磨损,进而延长抵柱503的使用寿命。
本实用新型的工作原理及使用流程:该装置使用时,开启进料管7上的电磁阀8后,通过进料管7向混料腔507内部注入石膏浆料,而后关闭电磁阀8,启动步进电机403,电机轴带动主动齿轮402转动,通过主动齿轮402与从动齿轮401的啮合传动带动主轴2转动,主轴2带动安装圆盘509转动,通过联动杆502带动滚筒3同步转动,混料腔507底部的石膏浆料粘附在滚筒3的内侧壁上被运送至混料腔507的顶部,再因重力影响掉落至混料腔507底部,在此过程中搅拌叶片506对石膏浆料进行纵向分割,提高搅拌效率,当滚筒3上的抵柱503向靠近偏折环504下端的位置转动时,弹簧501收缩,联动杆502在移置腔508内部的长度伸长,当滚筒3上的抵柱503向靠近偏折环504上端的位置转动时,弹簧501回弹,将滚筒3向左挤压,联动杆502在移置腔508内部的长度缩短,进而使滚筒3在主轴2外侧进行左右往复运动,使搅拌叶片506对混料腔507内部的石膏浆料进行横向分割,进一步提高搅拌效率,在寒冷天气下,启动电加热管603,电加热管603对主轴2进行加热升温,使混料腔507内部的石膏浆料在搅拌过程中均匀受热,防止石膏浆料发生冻结,当石膏浆料搅拌均匀后,使滚筒3复位,开启出料管9上的电磁阀8,将混料腔507内部的石膏浆料向下排出。
尽管已经示出和描述了本实用新型的实施例,对于本领域的普通技术人员而言,可以理解在不脱离本实用新型的原理和精神的情况下可以对这些实施例进行多种变化、修改、替换和变型,本实用新型的范围由所附权利要求及其等同物限定。

