泸州茂源陶瓷制作有限公司
电话:0830-8392818
手机:15881414888
13398260233
18281173899
邮箱:475372845@qq.com
传真:0830-8392818
网址:www.0830mytc.com
地址:泸州市泸县牛滩镇横江村1组
500号
泸州茂源陶瓷制作有限公司欢迎您!
泸州茂源陶瓷制作有限公司
电话:0830-8392818
手机:15881414888
13398260233
18281173899
邮箱:475372845@qq.com
传真:0830-8392818
网址:www.0830mytc.com
地址:泸州市泸县牛滩镇横江村1组
500号
本实用新型公开了一种悬挂式电动葫芦起吊上料机械设备,包括安装座,所述安装座的上端面固定安装有气缸,所述气缸的上端面安装有升降柱,所述升降柱的上端面安装有固定框,所述固定框的内部安装有起吊机构,所述固定框的侧壁可拆卸安装有悬挂机构,本实用新型通过设置固定框能够对起吊机构进行防护,不易脱落,且起吊机构内部的各部件连接关系简单,便于拆分,从而利于组合安装,降低加工难度,且连接绳的表面套接有压缩弹簧,能够保证连接绳收卷过程中的缓冲减震性能,避免滑动块与固定框的下端面发生直接的碰撞,从而能够提升装置的使用寿命,实用性极强;且在气缸和升降柱的配合下便于实现固定框及其内部的起吊机构的安装,便于操作。

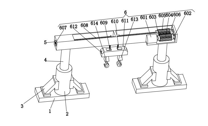
1.一种悬挂式电动葫芦起吊上料机械设备,包括安装座(1),其特征在于:所述安装座(1)的上端面固定安装有气缸(2),所述气缸(2)的上端面安装有升降柱(4),所述升降柱(4)的上端面安装有固定框(5),所述固定框(5)的内部安装有起吊机构(6),所述固定框(5)的侧壁可拆卸安装有悬挂机构(7)。
2.根据权利要求1所述的一种悬挂式电动葫芦起吊上料机械设备,其特征在于:所述气缸(2)的侧壁与安装座(1)的上端面之间固定安装有加强板(3),且所述气缸(2)对称设置有两个,一个所述气缸(2)配备两个所述加强板(3)。
3.根据权利要求1所述的一种悬挂式电动葫芦起吊上料机械设备,其特征在于:所述起吊机构(6)包括驱动机(601),所述驱动机(601)的输出端通过驱动轴(602)连接有驱动轮(603),且所述驱动轮(603)套接在驱动轴(602)的圆周表面,所述驱动轮(603)的圆周表面固定安装有驱动齿(604),所述驱动齿(604)啮合连接有传动齿(605),所述传动齿(605)的内端面固定连接有传动轮(606),所述传动轮(606)的内部安装有转动辊(607),所述转动辊(607)的圆周表面套接收卷绳(608),所述收卷绳(608)的内端固定连接有连接绳(609),所述连接绳(609)的尾端固定连接有定位杆(612),所述定位杆(612)的外部固定安装有滑动块(611),所述滑动块(611)下端面可拆卸安装有连接件(613),所述连接件(613)的下端面可拆卸安装有挂钩(614)。
4.根据权利要求3所述的一种悬挂式电动葫芦起吊上料机械设备,其特征在于:所述驱动轴(602)和转动辊(607)与固定框(5)的相交处均安装有轴承。
5.根据权利要求3所述的一种悬挂式电动葫芦起吊上料机械设备,其特征在于:所述收卷绳(608)和连接绳(609)均采用钢丝绳,且收卷绳(608)的直径大于连接绳(609)的直径,且所述连接绳(609)的圆周表面套接有压缩弹簧(610)。
6.根据权利要求3所述的一种悬挂式电动葫芦起吊上料机械设备,其特征在于:所述滑动块(611)的下端面开设有连接槽,所述连接件(613)的上端面固定安装有与连接槽尺寸相适配的连接块,连接块与连接槽过盈配合。
7.根据权利要求3所述的一种悬挂式电动葫芦起吊上料机械设备,其特征在于:所述连接件(613)的下端面开设有沉槽,所述挂钩(614)的上端面固定安装有与沉槽尺寸相适配的凸块,凸块与沉槽过盈配合。
8.根据权利要求1所述的一种悬挂式电动葫芦起吊上料机械设备,其特征在于:所述悬挂机构(7)包括安装块(701),所述安装块(701)的外端面固定安装有安装板(702),所述安装板(702)的内部可拆卸安装有连接柱(703),且所述固定框(5)的侧壁开设有安装块(701)尺寸相适配的安装槽,所述安装块(701)与安装槽过盈配合。
一种悬挂式电动葫芦起吊上料机械设备
技术领域
本实用新型属于电动葫芦技术领域,具体涉及一种悬挂式电动葫芦起吊上料机械设备。
背景技术
电动葫芦是一种特种起重设备,安装在天车、龙门吊之上,电动葫芦具有体积小,自重轻,操作简单,使用方便等特点,用于工矿企业,仓储,码头等场所,电动葫芦结构紧凑,电机轴线垂直于卷筒轴线的电动葫芦采用蜗轮传动装置。其缺点为:长度尺寸大,宽度方面尺寸大,结构粗笨,机械效率低,加工较难等。液压系统为双重控制,溢流调节阀、磁接点压力表均可对压力进行精确的控制。电气控制部门采用了低电压控制,增加了支配系统的安全性。
然而市面上各种的电动葫芦仍存在各种各样的问题,如现有技术中的电动葫芦结构粗笨,加工难度较大,且在实际的安装过程中,不易组合安装,具有一定的局限性,为此,我们提出一种悬挂式电动葫芦起吊上料机械设备。
实用新型内容
本实用新型的目的在于提供一种悬挂式电动葫芦起吊上料机械设备,以解决上述背景技术中提出的问题。
为实现上述目的,本实用新型提供如下技术方案:一种悬挂式电动葫芦起吊上料机械设备,包括安装座,所述安装座的上端面固定安装有气缸,所述气缸的上端面安装有升降柱,所述升降柱的上端面安装有固定框,所述固定框的内部安装有起吊机构,所述固定框的侧壁可拆卸安装有悬挂机构。
优选的,所述气缸的侧壁与安装座的上端面之间固定安装有加强板,且所述气缸对称设置有两个,一个所述气缸配备两个所述加强板。
优选的,所述起吊机构包括驱动机,所述驱动机的输出端通过驱动轴连接有驱动轮,且所述驱动轮套接在驱动轴的圆周表面,所述驱动轮的圆周表面固定安装有驱动齿,所述驱动齿啮合连接有传动齿,所述传动齿的内端面固定连接有传动轮,所述传动轮的内部安装有转动辊,所述转动辊的圆周表面套接收卷绳,所述收卷绳的内端固定连接有连接绳,所述连接绳的尾端固定连接有定位杆,所述定位杆的外部固定安装有滑动块,所述滑动块下端面可拆卸安装有连接件,所述连接件的下端面可拆卸安装有挂钩。
优选的,所述驱动轴和转动辊与固定框的相交处均安装有轴承。
优选的,所述收卷绳和连接绳均采用钢丝绳,且收卷绳的直径大于连接绳的直径,且所述连接绳的圆周表面套接有压缩弹簧。
优选的,所述滑动块的下端面开设有连接槽,所述连接件的上端面固定安装有与连接槽尺寸相适配的连接块,连接块与连接槽过盈配合。
优选的,所述连接件的下端面开设有沉槽,所述挂钩的上端面固定安装有与沉槽尺寸相适配的凸块,凸块与沉槽过盈配合。
优选的,所述悬挂机构包括安装块,所述安装块的外端面固定安装有安装板,所述安装板的内部可拆卸安装有连接柱,且所述固定框的侧壁开设有安装块尺寸相适配的安装槽,所述安装块与安装槽过盈配合。
与现有技术相比,本实用新型的有益效果是:
(1)、该悬挂式电动葫芦起吊上料机械设备,通过设置固定框能够对起吊机构进行防护,不易脱落,且起吊机构内部的各部件连接关系简单,便于拆分,从而利于组合安装,降低加工难度,且连接绳的表面套接有压缩弹簧,能够保证连接绳收卷过程中的缓冲减震性能,避免滑动块与固定框的下端面发生直接的碰撞,从而能够提升装置的使用寿命,实用性极强。
(2)、该悬挂式电动葫芦起吊上料机械设备,启动气缸和升降柱能够将固定框和起吊机构及悬挂机构调节至所需工作高度后,再将连接柱打入工作孔内,实现悬挂机构和固定框的安装,操作简单,利于操作。
附图说明
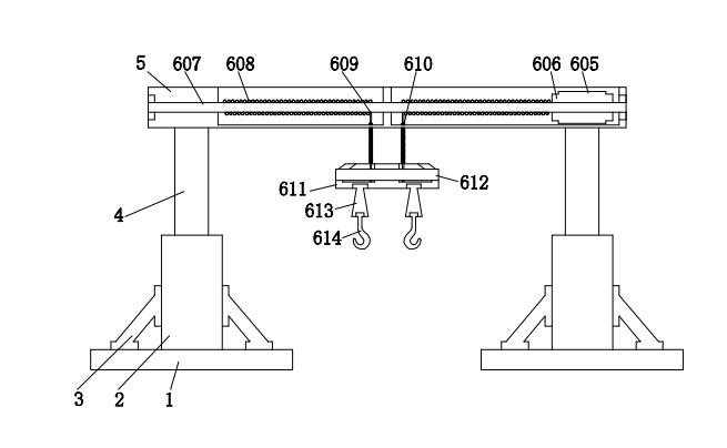
图1为本实用新型的立体示意图;

图2为本实用新型的正剖视图;

图3为本实用新型中起吊机构的立体示意图;

图4为本实用新型中滑动块的立体示意图;

图5为本实用新型中悬挂机构的立体示意图;

图6为本实用新型中固定框与悬挂机构连接关系的立体示意图。

图中:1、安装座;2、气缸;3、加强板;4、升降柱;5、固定框;6、起吊机构;601、驱动机;602、驱动轴;603、驱动轮;604、驱动齿;605、传动齿;606、传动轮;607、转动辊;608、收卷绳;609、连接绳;610、压缩弹簧;611、滑动块;612、定位杆;613、连接件;614、挂钩;7、悬挂机构;701、安装块;702、安装板;703、连接柱。
具体实施方式
下面将结合本实用新型实施例中的附图,对本实用新型实施例中的技术方案进行清楚、完整地描述,显然,所描述的实施例仅仅是本实用新型一部分实施例,而不是全部的实施例。基于本实用新型中的实施例,本领域普通技术人员在没有做出创造性劳动前提下所获得的所有其他实施例,都属于本实用新型保护的范围。
请参阅图1-图6,本实用新型提供一种悬挂式电动葫芦起吊上料机械设备,包括安装座1,安装座1的上端面固定安装有气缸2,气缸2的上端面安装有升降柱4,升降柱4的上端面安装有固定框5,固定框5的内部安装有起吊机构6,固定框5的侧壁可拆卸安装有悬挂机构7。
本实施例中,优选的,气缸2的侧壁与安装座1的上端面之间固定安装有加强板3,且气缸2对称设置有两个,一个气缸2配备两个加强板3,通过设置加强板3能够保证气缸2的稳定性,而通过设置气缸2能够实现固定框5及起吊机构6的升降,便于安装,利于操作。
本实施例中,优选的,起吊机构6包括驱动机601,驱动机601的输出端通过驱动轴602连接有驱动轮603,且驱动轮603套接在驱动轴602的圆周表面,驱动轮603的圆周表面固定安装有驱动齿604,驱动齿604啮合连接有传动齿605,传动齿605的内端面固定连接有传动轮606,传动轮606的内部安装有转动辊607,转动辊607的圆周表面套接收卷绳608,收卷绳608的内端固定连接有连接绳609,连接绳609的尾端固定连接有定位杆612,定位杆612的外部固定安装有滑动块611,滑动块611下端面可拆卸安装有连接件613,连接件613的下端面可拆卸安装有挂钩614,启动驱动机601能够带动驱动轴602做圆周运动,在驱动轴602的作用下能够带动驱动轮603和驱动齿604做圆周运动,从而能够带动传动齿605转动,从而能够带动传动轮606和转动辊607转动,从而能够实现收卷绳608的收卷,从而能够实现连接绳609的收卷,进而能够带动滑动块611、连接件613和挂钩614沿垂直方向的移动,实现吊装上料的目的,操作简单。
本实施例中,优选的,驱动轴602和转动辊607与固定框5的相交处均安装有轴承,在轴承的作用下能够实现驱动轴602和转动辊607的固定,且不影响实际的转动效果。
本实施例中,优选的,收卷绳608和连接绳609均采用钢丝绳,且收卷绳608的直径大于连接绳609的直径,且连接绳609的圆周表面套接有压缩弹簧610,通过设置压缩弹簧610能够保证连接绳609收卷过程中的缓冲减震性能,实用性强,便于操作。
本实施例中,优选的,滑动块611的下端面开设有连接槽,连接件613的上端面固定安装有与连接槽尺寸相适配的连接块,连接块与连接槽过盈配合,通过连接块与连接槽的配合能够保证滑动块611与连接件613的连接稳定性,且便于拆分,利于操作。
本实施例中,优选的,连接件613的下端面开设有沉槽,挂钩614的上端面固定安装有与沉槽尺寸相适配的凸块,凸块与沉槽过盈配合,通过凸块与沉槽的配合能够保证连接件613与挂钩614的连接稳定性,且便于拆分。
本实施例中,优选的,悬挂机构7包括安装块701,安装块701的外端面固定安装有安装板702,安装板702的内部可拆卸安装有连接柱703,且固定框5的侧壁开设有安装块701尺寸相适配的安装槽,安装块701与安装槽过盈配合,在气缸2和升降柱4的作用下能够将固定框5升至所需工作点后,将连接柱703拆卸后,将整个悬挂机构7安装在所需工作点,安装完成后,再将连接柱703钻入地点,从而能够实现悬挂机构7、固定框5以及固定框5内部的起吊机构6的定位固定效果,便于操作。
本实用新型的工作原理及使用流程:该装置使用时,将悬挂机构7内部的连接柱703抽离,启动气缸2和升降柱4将固定框5和起吊机构6及悬挂机构7调节至所需工作高度后,再将连接柱703打入工作孔内,实现悬挂机构7和固定框5的安装,完成安装后,启动驱动机601,在驱动机601的作用下能够带动驱动轴602做圆周运动,在驱动轴602的作用下能够带动驱动轮603和驱动齿604做圆周运动,从而能够带动传动齿605转动,从而能够带动传动轮606和转动辊607转动,从而能够实现收卷绳608的收卷,从而能够实现连接绳609的收卷,进而能够带动滑动块611、连接件613和挂钩614沿垂直方向的移动,实现吊装上料的目的,而连接绳609的圆周表面套接有压缩弹簧610,通过设置压缩弹簧610能够保证连接绳609收卷过程中的缓冲减震性能,实用性强,便于操作。
尽管已经示出和描述了本实用新型的实施例,对于本领域的普通技术人员而言,可以理解在不脱离本实用新型的原理和精神的情况下可以对这些实施例进行多种变化、修改、替换和变型,本实用新型的范围由所附权利要求及其等同物限定。
