泸州茂源陶瓷制作有限公司
电话:0830-8392818
手机:15881414888
13398260233
18281173899
邮箱:475372845@qq.com
传真:0830-8392818
网址:www.0830mytc.com
地址:泸州市泸县牛滩镇横江村1组
500号
泸州茂源陶瓷制作有限公司欢迎您!
泸州茂源陶瓷制作有限公司
电话:0830-8392818
手机:15881414888
13398260233
18281173899
邮箱:475372845@qq.com
传真:0830-8392818
网址:www.0830mytc.com
地址:泸州市泸县牛滩镇横江村1组
500号
本实用新型公开了一种窑炉尾抽热风机,包括远离窑炉尾端设置的离心风机,离心风机的输出端通过总输气管固定连接有多个空气倍增器,且多个空气倍增器等间隔设置在窑炉尾端,空气倍增器内部设置有环形导流腔,且空气倍增器的出气端靠近空气倍增器里端朝前设置,通过设置的离心风机和空气倍增器,在窑炉抽气口处形成负压,带动窑炉内的热气排出,利用无叶风扇的远离将热气经过空气倍增器的中心排出,无须经过抽热风机的机械部件,有效避免了抽气风机的零部件受热损坏,大大提高了抽气风机的使用寿命。

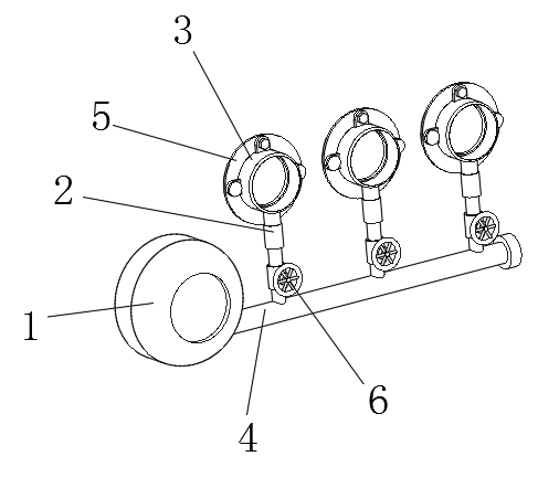
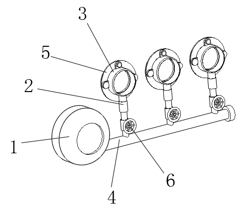
1.一种窑炉尾抽热风机,包括远离窑炉尾端设置的离心风机(1),其特征在于:所述离心风机(1)的输出端通过总输气管(4)固定连接有多个空气倍增器(3),且多个空气倍增器(3)等间隔设置在窑炉尾端,所述空气倍增器(3)内部设置有环形导流腔,且空气倍增器(3)的出气端靠近空气倍增器(3)里端朝前设置。
2.根据权利要求1所述的一种窑炉尾抽热风机,其特征在于:所述空气倍增器(3)的底部设置有进气管(10),所述进气管(10)通过快接机构(2)与总输气管(4)支管连接。
3.根据权利要求2所述的一种窑炉尾抽热风机,其特征在于:所述快接机构(2)包括接出管(11),所述接出管(11)与总输气管(4)侧壁支管连通,所述接出管(11)的外壁套设有连接套(12),且连接套(12)的上端与进气管(10)外壁螺纹连接,所述接出管(11)的上端设置有密封凸环(13),且密封凸环(13)的下端设置有密封垫(14),所述连接套(12)内腔中插设有弹簧(16),且弹簧(16)的上端固定连接有密封插环(15),所述密封插环(15)的上端插接于进气管(10)下端。
4.根据权利要求1所述的一种窑炉尾抽热风机,其特征在于:所述总输气管(4)的支管下端设置有截止阀(6),所述截止阀(6)的旋钮朝前设置。
5.根据权利要求1所述的一种窑炉尾抽热风机,其特征在于:所述离心风机(1)通过安装座(5)与窑炉尾端固定连接,所述安装座(5)固定安装于窑炉尾端通风口处,沿着通风口的边缘设置。
6.根据权利要求5所述的一种窑炉尾抽热风机,其特征在于:所述空气倍增器(3)的两侧靠近里侧均设置有挂钩(17),所述安装座(5)的正面两侧均设置有卡接柱(7),所述挂钩(17)卡接固定于卡接柱(7)中部。
7.根据权利要求5所述的一种窑炉尾抽热风机,其特征在于:所述空气倍增器(3)的上端靠近里侧固定连接有螺栓座(8),且螺栓座(8)中插设有固定螺栓(9),所述固定螺栓(9)的里端螺纹连接与安装座(5)上端。
一种窑炉尾抽热风机
技术领域
本实用新型属于窑炉风机设备技术领域,具体涉及一种窑炉尾抽热风机。
背景技术
窑炉是用耐火材料砌成的用以烧成制品的设备,是陶艺成型中的必备设施。人类上万年的陶瓷烧造历史,积累了丰富的造窑样式和经验。从原始社会的地上露天堆烧、挖坑筑烧到馒头状升焰圆窑、半倒焰马蹄形窑、半坡龙窑、鸭蛋形窑,再到现今的室内气窑、电窑,窑炉科技在不断改良发展中。
现有技术中窑炉的尾部降温方式普遍在窑炉的尾部出口处的输送导轨外侧沿其长度方向间隔设置有抽热风机,通过启动多个抽热风机对输送导轨上烧制完成的工件散热,但是,由于刚出炉的工件温度较高,抽热风机转速高并且在高温环境中工作,高温容易对风机的轴承和叶片造成损坏,导致抽热风机的使用寿命较短,需要时常更换,为此我们提出一种窑炉尾抽热风机。
实用新型内容
本实用新型的目的在于提供一种窑炉尾抽热风机,以解决上述背景技术中提出的问题。
为实现上述目的,本实用新型提供如下技术方案:一种窑炉尾抽热风机,包括远离窑炉尾端设置的离心风机,所述离心风机的输出端通过总输气管固定连接有多个空气倍增器,且多个空气倍增器等间隔设置在窑炉尾端,所述空气倍增器内部设置有环形导流腔,且空气倍增器的出气端靠近空气倍增器里端朝前设置。
优选的,所述空气倍增器的底部设置有进气管,所述进气管通过快接机构与总输气管支管连接。
优选的,所述快接机构包括接出管,所述接出管与总输气管侧壁支管连通,所述接出管的外壁套设有连接套,且连接套的上端与进气管外壁螺纹连接,所述接出管的上端设置有密封凸环,且密封凸环的下端设置有密封垫,所述连接套内腔中插设有弹簧,且弹簧的上端固定连接有密封插环,所述密封插环的上端插接于进气管下端。
优选的,所述总输气管的支管下端设置有截止阀,所述截止阀的旋钮朝前设置。
优选的,所述离心风机通过安装座与窑炉尾端固定连接,所述安装座固定安装于窑炉尾端通风口处,沿着通风口的边缘设置。
优选的,所述空气倍增器的两侧靠近里侧均设置有挂钩,所述安装座的正面两侧均设置有卡接柱,所述挂钩卡接固定于卡接柱中部。
优选的,所述空气倍增器的上端靠近里侧固定连接有螺栓座,且螺栓座中插设有固定螺栓,所述固定螺栓的里端螺纹连接与安装座上端。
与现有技术相比,本实用新型的有益效果是:
(1)、该窑炉尾抽热风机,通过设置的离心风机和空气倍增器,离心风机泵出的高速气流能够通过总输气管进入空气倍增器,沿着空气倍增器的内侧壁朝前形成高速气流,从而带动空气倍增器中心处的空气向前移动,在窑炉抽气口处形成负压,带动窑炉内的热气排出,利用无叶风扇的远离将热气经过空气倍增器的中心排出,无须经过抽热风机的机械部件,有效避免了抽气风机的零部件受热损坏,大大提高了抽气风机的使用寿命。
(2)、该窑炉尾抽热风机,通过设置安装座,使得空气倍增器两端通过挂钩和卡接柱直接卡接固定,然后通过固定螺栓固定螺栓座,使得空气倍增器与安装座固定,便于空气倍增器的安装和拆卸,从而便于空气倍增器的维护和清理。
附图说明
图1为本实用新型的立体图;

图2为本实用新型的空气倍增器截面结构图;

图3为本实用新型的快接机构处的局部剖视图;

图4为本实用新型的空气倍增器与安装座连接处的正剖视图。

图中:1、离心风机;2、快接机构;3、空气倍增器;4、总输气管;5、安装座;6、截止阀;7、卡接柱;8、螺栓座;9、固定螺栓;10、进气管;11、接出管;12、连接套;13、密封凸环;14、密封垫;15、密封插环;16、弹簧;17、挂钩。
具体实施方式
下面将结合本实用新型实施例中的附图,对本实用新型实施例中的技术方案进行清楚、完整地描述,显然,所描述的实施例仅仅是本实用新型一部分实施例,而不是全部的实施例。基于本实用新型中的实施例,本领域普通技术人员在没有做出创造性劳动前提下所获得的所有其他实施例,都属于本实用新型保护的范围。
请参阅图1-图4,本实用新型提供一种窑炉尾抽热风机,包括远离窑炉尾端设置的离心风机1,离心风机1的输出端通过总输气管4固定连接有多个空气倍增器3,且多个空气倍增器3等间隔设置在窑炉尾端,空气倍增器3内部设置有环形导流腔,且空气倍增器3的出气端靠近空气倍增器3里端朝前设置。
本实施例中,优选的,空气倍增器3的底部设置有进气管10,进气管10通过快接机构2与总输气管4支管连接;通过设置的快接机构2,进气管10通过快接机构2能够快速的安装拆卸,便于空气倍增器3的安装。
本实施例中,优选的,快接机构2包括接出管11,接出管11与总输气管4侧壁支管连通,接出管11的外壁套设有连接套12,且连接套12的上端与进气管10外壁螺纹连接,接出管11的上端设置有密封凸环13,且密封凸环13的下端设置有密封垫14,连接套12内腔中插设有弹簧16,且弹簧16的上端固定连接有密封插环15,密封插环15的上端插接于进气管10下端;通过设置的连接套12,连接套12旋转时,通过连接套12与进气管10的配合,将进气管10和接出管11拉近,此时密封垫14与连接套12下端相抵,保持密封,密封插环15在弹簧16的弹力作用下与进气管10下单紧密接触,完成密封,保证密封效果的同时便于进气管10的安装。
本实施例中,优选的,总输气管4的支管下端设置有截止阀6,截止阀6的旋钮朝前设置;通过设置的截止阀6,便于控制总输气管4支路的通断,能够在空气倍增器3故障时,紧急断开故障空气倍增器3,保证其他空气倍增器3的正常工作。
本实施例中,优选的,离心风机1通过安装座5与窑炉尾端固定连接,安装座5固定安装于窑炉尾端通风口处,沿着通风口的边缘设置;通过设置的安装座5,便于空气倍增器3的安装。
本实施例中,优选的,空气倍增器3的两侧靠近里侧均设置有挂钩17,安装座5的正面两侧均设置有卡接柱7,挂钩17卡接固定于卡接柱7中部;通过设置的挂钩17和卡接柱7,使得空气倍增器3能够直接从上侧卡到卡接柱7上,便于空气倍增器3两端的固定。
本实施例中,优选的,空气倍增器3的上端靠近里侧固定连接有螺栓座8,且螺栓座8中插设有固定螺栓9,固定螺栓9的里端螺纹连接与安装座5上端;通过设置的螺栓座8和固定螺栓9,将空气倍增器3的位置定位,使得空气倍增器3固定,便于空气倍增器3的安装。
本实用新型的工作原理及使用流程:该装置使用时,通过设置的离心风机1向空气倍增器3泵入气体,气体经过空气倍增器3内腔后沿着空气倍增器3的内壁向前喷出,在空气倍增器3的中心形成负压,牵引空气倍增器3背侧的空气向前移动,利用无叶风扇的远离,将窑炉尾端热气排出。
尽管已经示出和描述了本实用新型的实施例,对于本领域的普通技术人员而言,可以理解在不脱离本实用新型的原理和精神的情况下可以对这些实施例进行多种变化、修改、替换和变型,本实用新型的范围由所附权利要求及其等同物限定。

